服务电话(移):17319309550
DeepBio得分:5567.2
DeepBio得分
是基于文献引用次数,影响因子,文献新近度等因素计算的客观产品评级,得分越高表明该产品经过越可靠的实验验证,质量可信度越高
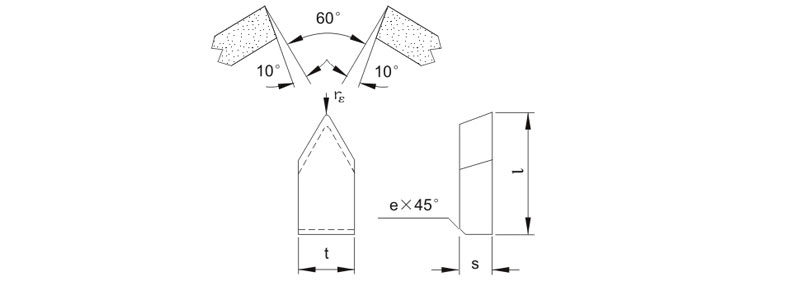
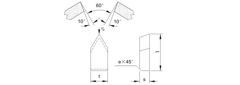
C1型,用于制造螺纹车刀
YG3X 在钨钴合金中耐磨性最好,但冲击韧性较差。适于铸铁、有色金属及合金、淬火钢、合金钢小切屑断面高速精加工。
ZK20(YG6) 耐磨性较高,抗冲击性和震动性较好。适于铸铁、有色金属及合金、非金属材料中等切削速度的半精加工和精加工。
YG6X 耐磨性高,使用强度较好。适于加工冷硬合金铸铁与耐热合金钢,也适于普通铸铁的精加工。
YG6A 耐磨性高,使用强度较好。适用于冷硬铸铁、有色金属及其合金的半精加工;亦适于淬火钢、合金钢的半精加工及精加工。
ZK30(YG8) 使用强度高,抗冲击性、抗震性好,但耐磨性和允许的切削速度较低。适于铸铁、有色金属及合金、非金属材料低速粗加工。
YT5 在P类合金中,强度、抗冲击性及抗震性最好,但耐磨性较差。适于碳素钢与合金钢(包括锻件、冲压件、铸铁表皮)间断切削的粗车、粗刨、半精刨。
ZP20 使用强度和抗冲击性较高,适合于钢、铸钢、可锻铸铁和球磨铸铁的半精加工和浅粗加工。
YT14 使用强度高,抗冲击和抗震性好。适用于碳素钢与合金钢连续切削时的粗车、粗铣、间断切削时的半精车和精车。
YT15 耐磨性较好,有一定抗冲击韧性。适于钢、铸钢、合金钢中切屑断面的半精加工或小切屑断面的精加工。
YW1 红硬性较好,能承受一定的冲击负荷。是通用性较好的合金。适于耐热钢、高锰钢、不锈钢等难加工钢材的加工,也适于普通钢和铸铁的加工。
YW2 耐磨性高,使用强度较高,能承受较大的冲击负荷。适于耐热钢、高锰钢、不锈钢及高级合金钢等的粗加工、半精加工,也适于普通钢和铸铁。
YW2A 红硬性较好,使用强度较高,能承受较大的冲击负荷。是通用性较好的合金。适于耐热钢、高锰钢、不锈钢及高级合金钢等难加工钢材的粗加工、半精加工,也适于铸铁。
ZP25 韧性好,适用于碳钢、铸钢、锰钢、高强度及各种合金钢的粗车、铣削、刨削和深孔加工。
ZP35 红硬性好,并且有良好的抗冲击及抗热震性和高的使用强度,是通用性良好的牌号。适合于钢及铸钢的粗加工的强力切削。
YT726 红硬性高、耐磨性好。适于冷硬铸铁、合金铸铁、淬火钢的车削、铣削。
YT767 耐磨性高,抗塑性变形能力好。适于高锰钢、不锈钢的连续或部分间断切削。
YT758 高温硬度好,耐磨性好。适超高强度钢的连续或间断切削。
YT798 韧性好,具有很高的抗热震裂和抗塑性变形能力。适于铣削合金结构钢、合金工具钢,也适于高锰钢、不锈钢的加工。
YG813 耐磨性好,较高的抗弯强度和抗粘结能力。适于加工高温合金、不锈钢、高锰钢等材料。
YG546 韧性好,使用强度高,能承受较大的冲击负荷。适于不锈钢、铸铁粗加工。
YG610 具有良好的热强性和高耐磨性。适于铸铁、高温合金、淬火钢等材料的连续或间断切削。

型号 |
尺寸(mm) |
||||
l |
t |
s |
re |
e |
|
C110 |
10.0 |
4.0 |
3.0 |
0.5 |
/ |
C116 |
16.0 |
6.0 |
4.0 |
0.5 |
0.8 |
C120 |
20.0 |
8.0 |
5.0 |
0.5 |
0.8 |
C122 |
22.0 |
10.0 |
6.0 |
0.5 |
0.8 |
C125 |
25.0 |
12.0 |
7.0 |
0.8 |
0.8 |

| 好评度 | 商品满意度 | 服务满意度 | 发货满意度 |
"自贡长城 焊接刀片,YT5/C120 用于螺纹车刀 售卖规格:30片/盒"商品可能已被商家删除,您可查看其他相似商品!
相似产品推荐
